在线询价
取消
提交
首页
关于我们
产品中心
客户留言
人才招聘
联系我们
0575-87010203
15988201666
首页
关于我们
产品中心
客户留言
人才招聘
联系我们
0575-87010203
15988201666
产品中心
外套
00110
00210
00400
00401
00110A
03310
01100
01200
01300
01400
00100
00200
00621
00710
00TF0
00018
公制
20211
20291
20241
20111
20191
20141
20711
20791
20741
20291L
20691L
H型
20411
20491
20441
20511
20591
20541
20491-H
20591-H
英制
22211
22291
22241
22611
22691
22641
29611
29691
29641
22691L
美制
21641
21691
21611
26711
26791
26741
26791-H
24211
24291
24241
24291-H
27811
27891
27841
F兰盘
87312
87392
87342
87392L
87612
87692
87642
87692L
87912
87992
87942
87322V15°
87322V115°
87312(堵头)
87613
87693
87643
87913
87993
87943
法兰夹
FL(3000)
FS(6000)
FS(9000)
FL-W(3000)
FS-W(6000)
双六角
英制
美制
公制
H型
外丝
10211
10811
10811L
10411
10411L
10511
18611
10491
10591
13011
13011SP
12211
12611
12611A
12611AL-LN
14211
15611
15611SW
16711
16711L
19611
矿用接头
60011
双接
90011
90091
焊接
40011
圆球
70011
70091
72011
台式连体
20711P
20791P
22611P
22691P
26711P
26791P
26741P
煤气瓶专用接头
煤气瓶接头
煤气瓶接头(止阀)
氧气瓶专用接头
氧气瓶接头
氧气瓶反牙
铁氟龙专用接头
铁氟龙半口
铁氟龙连体
注油机专用接头
6杆注油机
德龙离合器专用接头
6杆德龙离合器
卡套式
50011
50091
洗车管接头
黑猫单圈(14/15)
10杆22*1.5(内外丝)
千斤顶专用接头
30011
黑猫双圈(14/15)
外螺纹
内螺纹
外螺纹(万能头)
叉车专用接头
8杆16*1.5D(7字型)
S弯
加长直头
堵头
4B
9B
4J
9J
免拨胶一体式
公制
英制
美制
双六角
H型
法兰盘
外丝
圆球
空压机接头
20711(深喇叭)
20791(深喇叭)
穿钢丝
20411W
20491W
20441W
20511W
20591W
20541W
22611W
22691W
22641W
26711W
26791W
26741W
22611D-W
26711D-W
拨内外胶接头
20413
20493
20443
20513
20593
20543
22613
22693
22643
26713
26793
26743
87313
87393
87343
87613
87693
87643
87913
87993
87943
你的当前位置:
首页
> 产品展示
00200
价格:
元
TECHNICAL DOCUMENTATION
CODE
dn hose
pvp(€/un)
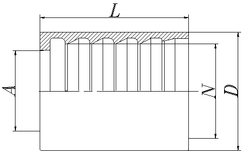
参数
代号
软管
尺寸
公称内径
标 号
D
N
L
A
00200-03
5
03
20.6
12.3
27
8.8
00200-04
6
04
21
14.2
30
11.2
00200-05
8
05
24
15.8
31
12.7
00200-06
10
06
25.5
18
32
14.2
00200-08
12
08
30
22
34
18.6
00200-10
16
10
33.4
25.4
37
21.3
00200-12
20
12
38
29.2
43
24.5
00200-16
25
16
46
36.2
50
31
00200-20
32
20
56
45.4
59
37.5
00200-24
40
24
62
51.8
74
44
00200-32
50
32
75
62.5
78
56.8
{}
Copyright © 2024- 2026
诸暨市海奥液压机械有限公司 All Rights Reserved. 备案号:
浙ICP备2024140518号-1
首页
电话
留言
回到顶部
电话
15988201666
微信
返回顶部